Se avecina nuevo cambio Sram
El mundo del ciclismo está en constante evolución, y uno de los actores principales en esta dinámica de innovación es, sin duda, SRAM. La marca estadounidense, conocida por sus transmisiones de alta gama y componentes de vanguardia, parece estar preparando un nuevo lanzamiento que podría marcar un antes y un después en la forma en que entendemos los cambios en las bicicletas de montaña. Los rumores sobre un nuevo cambio SRAM Transmission a cable están cobrando fuerza, y las filtraciones de patentes y prototipos avistados en competiciones no hacen más que alimentar la expectación.
En este artículo, analizaremos en profundidad todo lo que se sabe hasta ahora sobre este se avecina nuevo cambio Sram, explorando sus posibles características, las implicaciones que podría tener para el mercado y las preguntas que aún quedan por responder. ¿Será una revolución completa o una evolución de la tecnología existente? ¿A qué tipo de ciclista estará dirigido? ¿Supondrá el fin de los cambios mecánicos tradicionales? Acompáñanos en este viaje para descubrirlo.
El cambio Sram Transmission a cable: ¿Qué sabemos hasta ahora?
La información oficial sobre el nuevo cambio Sram es, por el momento, escasa. La marca se mantiene hermética, alimentando así el misterio y las especulaciones. Sin embargo, gracias a diversas filtraciones y a la aparición de prototipos en competiciones de alto nivel, podemos empezar a dibujar un panorama de lo que podría ser este nuevo componente.

Filtraciones de patentes: Un vistazo al interior del nuevo cambio
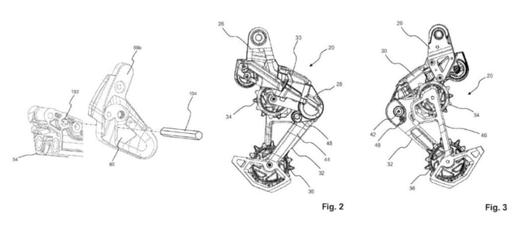
Uno de los indicios más sólidos sobre el desarrollo de este nuevo cambio Sram proviene de las patentes registradas por la marca. Estos documentos, aunque no revelan todos los detalles, sí ofrecen una visión general del funcionamiento y las innovaciones que podrían incorporarse.
En particular, una patente filtrada en Pinkbike ha generado un gran revuelo. Los diagramas muestran un cambio trasero con un diseño similar al actual Eagle Transmission electromecánico, pero con la notable diferencia de la presencia de un cable para su accionamiento. Esto sugiere que SRAM podría estar trabajando en una versión mecánica de su aclamada tecnología Transmission.
Prototipos en competición: La prueba de fuego
Además de las patentes, la aparición de prototipos en bicicletas de competición ha sido otro factor clave para confirmar que se avecina nuevo cambio Sram. Algunos ciclistas profesionales han sido vistos utilizando cambios traseros con características que no coinciden con ningún modelo actual de la marca. Estos prototipos, cuidadosamente camuflados, presentan indicios de un sistema de accionamiento por cable, lo que refuerza la teoría de una versión mecánica del Transmission.
¿Cómo se ajusta un cambio Sram Transmission a cable?
Una de las características más destacadas del actual Sram Eagle Transmission electromecánico es su sistema de ajuste del B-Gap, la distancia entre la roldana superior y el piñón del cassette. Este ajuste, crucial para el correcto funcionamiento del cambio, se realiza de forma sencilla y precisa en la versión electrónica.

Sin embargo, la introducción de un cable en el nuevo cambio Sram plantea un desafío: ¿cómo se ajustará el B-Gap en un sistema mecánico? La patente filtrada sugiere una solución ingeniosa que utiliza llaves Allen, denominadas "blocking member" en la documentación.
Según la patente, se utilizarían llaves de diferentes tamaños (5 mm para hardtails y 4 mm para bicicletas de doble suspensión) para bloquear el paralelogramo del cambio en una posición específica. Esta posición, junto con la correcta longitud de la cadena y la colocación de la misma en el piñón de 21 o 24 dientes (dependiendo del tipo de bicicleta), permitiría ajustar el B-Gap de forma precisa.
El proceso de instalación y ajuste del nuevo cambio Sram Transmission a cable sería, según la patente, el siguiente:
- Colocar la cadena de la longitud adecuada.
- Insertar la llave Allen ("blocking member") del tamaño correcto en el punto indicado del cambio.
- Colocar la cadena en el piñón de 21 o 24 dientes, según corresponda.
- Tirar hacia atrás del cuerpo del cambio.
- Apretar el tornillo de fijación al cuadro.
Este sistema, aunque más complejo que el ajuste electrónico, parece ofrecer una solución viable para mantener la precisión y la fiabilidad del cambio Transmission en una versión mecánica.
¿Por qué un cambio Sram Transmission a cable?
La pregunta que muchos se hacen es: ¿por qué SRAM, una marca que ha apostado fuerte por la tecnología electrónica, desarrollaría un nuevo cambio Sram accionado por cable? La respuesta podría residir en varios factores:
Ampliación de la gama T-Type
Una posibilidad es que este nuevo cambio Sram esté destinado a sustituir a los modelos Eagle mecánicos de 12 velocidades que aún se encuentran en el catálogo de la marca. De esta forma, SRAM podría convertir toda su gama de transmisiones al sistema T-Type, unificando la tecnología y simplificando la producción.
Una opción más asequible
El precio de las transmisiones electrónicas sigue siendo un obstáculo para muchos ciclistas. Un nuevo cambio Sram Transmission a cable podría ofrecer una alternativa más económica, permitiendo a un mayor número de usuarios disfrutar de las ventajas del sistema T-Type sin tener que realizar una gran inversión.
Fiabilidad y simplicidad

Aunque las transmisiones electrónicas son cada vez más fiables, muchos ciclistas siguen prefiriendo la simplicidad y la facilidad de reparación de los sistemas mecánicos. Un nuevo cambio Sram accionado por cable podría ofrecer lo mejor de ambos mundos: la robustez y la reparabilidad del Transmission, sin la complejidad y la dependencia de la batería de los sistemas electrónicos.
¿Una opción más ligera y rápida?
Si este nuevo cambio Sram se posicionara en la gama alta, como un hipotético XX mecánico, podría ofrecer ventajas en términos de peso y velocidad de cambio. Un sistema mecánico, al prescindir de motores y baterías, podría ser significativamente más ligero que su equivalente electrónico. Además, la ausencia de componentes electrónicos podría traducirse en una mayor velocidad de respuesta, aunque esto es algo que solo se podrá confirmar cuando el cambio esté disponible en el mercado.
El impacto del nuevo cambio Sram en el mercado
La llegada de un nuevo cambio Sram Transmission a cable podría tener un impacto significativo en el mercado de las transmisiones para bicicletas de montaña. Algunas de las posibles consecuencias son:
Mayor competencia
La entrada de SRAM en el segmento de los cambios mecánicos de alta gama con un producto basado en la tecnología Transmission podría intensificar la competencia con Shimano, que actualmente domina este mercado. Esto podría traducirse en mejores productos y precios más competitivos para los consumidores.
Aceleración de la transición al monoplato
El sistema T-Type de SRAM está diseñado específicamente para transmisiones monoplato. La introducción de un nuevo cambio Sram mecánico compatible con este sistema podría acelerar la adopción del monoplato, incluso en segmentos de precio más bajos.
Evolución de los componentes
La llegada de un nuevo cambio Sram con características innovadoras podría impulsar a otros fabricantes a desarrollar nuevas tecnologías y mejorar sus productos. Esto podría generar una ola de innovación en el sector de las transmisiones, beneficiando a los ciclistas con componentes más eficientes, ligeros y duraderos.
Preguntas sin respuesta
A pesar de la información disponible, aún quedan muchas preguntas sin respuesta sobre el nuevo cambio Sram:
¿Cuándo se lanzará?
La fecha de lanzamiento es una de las grandes incógnitas. Aunque los rumores sugieren que podría ser en 2025, SRAM no ha confirmado ni desmentido esta información.
¿Qué precio tendrá?
El precio es otro factor clave que determinará el éxito del nuevo cambio Sram. Si se posiciona como una alternativa más asequible a las transmisiones electrónicas, podría tener una gran acogida. Sin embargo, si el precio es demasiado elevado, podría tener dificultades para competir con los productos ya establecidos en el mercado.
¿Qué nivel de rendimiento ofrecerá?
Aunque la patente y los prototipos sugieren un alto nivel de rendimiento, solo las pruebas en el mundo real podrán confirmar si el nuevo cambio Sram está a la altura de las expectativas. La velocidad de cambio, la precisión, la durabilidad y la facilidad de mantenimiento serán aspectos clave a evaluar.
¿Será compatible con otros componentes?
La compatibilidad con otros componentes, como mandos de cambio, cassettes y cadenas, es otra cuestión importante. Si el nuevo cambio Sram solo es compatible con componentes específicos de la marca, podría limitar su adopción.
Conclusión: Un futuro prometedor
El se avecina nuevo cambio Sram ha generado una gran expectación en el mundo del ciclismo, y no es para menos. La posibilidad de una versión mecánica del aclamado sistema Transmission abre un abanico de posibilidades y podría marcar un punto de inflexión en la evolución de las transmisiones para bicicletas de montaña.
Aunque aún quedan muchas preguntas por responder, la información disponible sugiere que este nuevo cambio Sram podría ser una propuesta muy interesante, tanto para los ciclistas que buscan una alternativa más asequible a las transmisiones electrónicas, como para aquellos que prefieren la simplicidad y la fiabilidad de los sistemas mecánicos.
Solo el tiempo dirá si este nuevo cambio Sram se convierte en una revolución o en una evolución más en el mundo del ciclismo. Lo que sí es seguro es que la marca estadounidense sigue apostando por la innovación y no deja de sorprendernos con nuevas tecnologías que buscan mejorar la experiencia de los ciclistas. Estaremos atentos a las próximas noticias y, sin duda, probaremos este nuevo cambio Sram en cuanto esté disponible para poder ofreceros un análisis completo y detallado.
Recuerda que este artículo se basa en información no oficial y especulaciones. La información definitiva sobre el nuevo cambio SRAM solo se conocerá cuando la marca lo presente oficialmente.
En resumen, la llegada de este nuevo cambio Sram es una noticia emocionante para todos los amantes del ciclismo de montaña. La combinación de la tecnología Transmission con un sistema de accionamiento por cable podría ofrecer lo mejor de ambos mundos: rendimiento, fiabilidad, simplicidad y, posiblemente, un precio más asequible. Estaremos atentos a las próximas novedades y os mantendremos informados de todo lo que se avecina en el apasionante mundo de las transmisiones para bicicletas.
Si quieres conocer otros artículos parecidos a Se avecina nuevo cambio Sram puedes visitar la categoría Noticias.

ENTRADAS RELACIONADAS