SRAM presenta una Nueva Patente: Desviador Delantero Integrado en el Plato
El mundo del ciclismo está en constante evolución, con innovaciones que buscan mejorar la eficiencia, el rendimiento y la experiencia del ciclista. En este contexto, SRAM, una de las marcas líderes en componentes para bicicletas, acaba de sacudir el panorama con una nueva patente: un desviador delantero integrado en el plato. Esta revolucionaria idea, que parece sacada de una película de ciencia ficción, promete cambiar las reglas del juego y redefinir el concepto de las transmisiones de doble plato.

Esta noticia, publicada originalmente en Brujulabike.com, ha generado un gran revuelo entre los aficionados y profesionales del ciclismo. Y no es para menos, ya que la propuesta de SRAM no solo es audaz, sino que también podría tener implicaciones significativas en el diseño de las bicicletas y la forma en que experimentamos el ciclismo.
¿En Qué Consiste la Patente de SRAM?
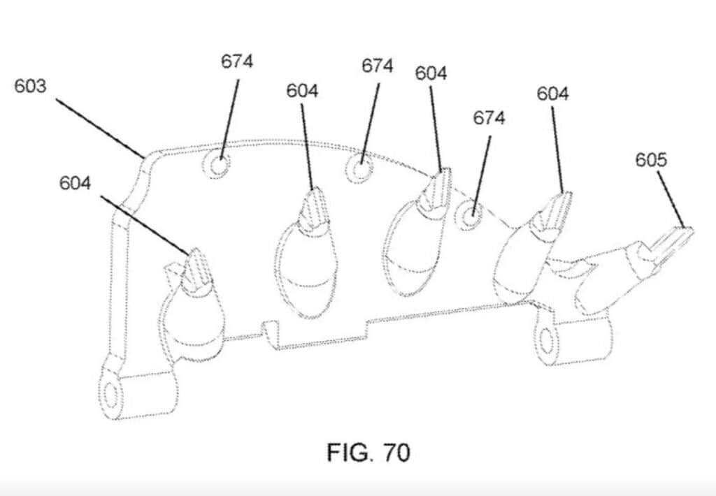
La patente de SRAM describe un sistema de cambio de platos integrado en las propias bielas. A diferencia de los sistemas de desmultiplicación como los bujes Classified o las bielas Hammerschmidt (que la propia SRAM comercializó hace años), este nuevo diseño propone un cambio de platos de concepto convencional. Esto significa que la cadena saltaría entre dos ruedas dentadas, como en los sistemas tradicionales, pero con una diferencia fundamental: el mecanismo de cambio estaría integrado en el conjunto del plato y la biela.
Mecanismo de Cambio: Una Danza de Placas y Dientes

El sistema propuesto por SRAM es, sin duda, complejo, pero fascinante. Para entenderlo mejor, vamos a desglosarlo paso a paso:
- Cambio de Plato Grande a Pequeño: Dos placas externas, situadas en la cara exterior del plato y alineadas con la biela, serían las encargadas de "empujar" la cadena hacia afuera. Este movimiento se realizaría cuando las bielas estuvieran en posición vertical, el punto de la pedalada donde se ejerce menos fuerza. La cadena, al ser desplazada, caería al plato pequeño.
- Cambio de Plato Pequeño a Grande: Aquí la cosa se complica un poco más. El plato grande incorporaría, en su parte interior, unos pequeños dientes guía. Estos dientes serían los encargados de dirigir la cadena desde el plato pequeño. Al igual que en el cambio descendente, unas pequeñas placas sacarían la cadena de los dientes del plato pequeño, haciendo que se enganchara en las guías. Estas guías, a su vez, desplazarían la cadena con suavidad hasta el plato grande, coincidiendo nuevamente con el punto de menor fuerza en la pedalada.
Accionamiento Inalámbrico: La Magia de la Tecnología AXS
Como era de esperar, un sistema tan sofisticado como este no podría ser accionado de forma mecánica. SRAM apuesta por su tecnología inalámbrica AXS para controlar el cambio de platos. Esto significa que no habría cables ni fundas que pudieran añadir fricción o complicar el mantenimiento. La comunicación entre el mando de cambio y el mecanismo integrado en el plato se realizaría de forma inalámbrica, proporcionando un cambio preciso y sin complicaciones.
¿Por Qué es Relevante Esta Patente?

La patente de SRAM no es solo una curiosidad tecnológica. Tiene el potencial de impactar en varios aspectos del ciclismo:
1. El Resurgir del Doble Plato
En los últimos años, el monoplato ha ganado una enorme popularidad, especialmente en el ciclismo de montaña. La simplicidad mecánica, el menor peso y la reducción de problemas de mantenimiento han sido factores clave en su adopción. Sin embargo, el doble plato sigue siendo una opción preferida por muchos ciclistas, especialmente en carretera, donde se busca una mayor versatilidad y un rango de desarrollos más amplio.
La patente de SRAM podría dar un nuevo impulso al doble plato, eliminando uno de sus principales inconvenientes: la complejidad y el mantenimiento del desviador delantero tradicional. Un sistema integrado y accionado de forma inalámbrica podría hacer que el doble plato volviera a ser una opción atractiva para muchos ciclistas.
2. Libertad para el Diseño de Bicicletas
La ausencia de un desviador delantero convencional podría abrir nuevas posibilidades para el diseño de bicicletas. Los ingenieros tendrían más libertad para optimizar aspectos como:
- Paso de rueda: Con la eliminación del desviador, se podría aumentar el espacio para neumáticos más anchos, una tendencia cada vez más popular en el ciclismo de gravel y montaña.
- Rigidez del pedalier: La zona del pedalier es crucial para la transmisión de la potencia. Un sistema sin desviador podría permitir diseños más rígidos y eficientes.
- Diseños no normativos: Bicicletas como la Baldiso One (sin tubo de sillín) o la Rondo IOON (una e-gravel revolucionaria) ya están desafiando las convenciones. La patente de SRAM podría facilitar la creación de diseños aún más innovadores.
3. Mejora en la Experiencia del Ciclista
Un cambio de platos más suave, preciso y sin cables podría mejorar significativamente la experiencia del ciclista. La ausencia de un desviador delantero tradicional también podría reducir el riesgo de caídas de cadena y otros problemas mecánicos.
¿Veremos Este Sistema en el Mercado?
Es importante recordar que se trata de una patente, no de un producto final. Es posible que SRAM nunca llegue a comercializar este sistema, o que lo haga en una forma muy diferente a la descrita en la patente. El desarrollo de una tecnología tan compleja implica superar numerosos desafíos técnicos y de fabricación.
Sin embargo, el hecho de que SRAM haya presentado esta patente demuestra su compromiso con la innovación y su interés en explorar nuevas soluciones para mejorar el ciclismo. Además, la empresa tiene un historial de convertir ideas audaces en productos reales. No olvidemos que fueron pioneros en la popularización del monoplato en el ciclismo de montaña.
Comparativa con Otras Tecnologías
Para entender mejor el impacto potencial de la patente de SRAM, es útil compararla con otras tecnologías de cambio de platos:
| Característica | Desviador Tradicional | Buje Classified | Bielas Hammerschmidt | Patente SRAM |
|---|---|---|---|---|
| Tipo de Cambio | Convencional | Desmultiplicación | Desmultiplicación | Convencional |
| Ubicación del Mecanismo | Externo | Interno (buje) | Interno (bielas) | Integrado (plato y biela) |
| Accionamiento | Mecánico o Electrónico | Inalámbrico | Mecánico | Inalámbrico (AXS) |
| Complejidad | Media | Alta | Alta | Muy Alta |
| Mantenimiento | Medio | Bajo | Alto | Potencialmente Bajo |
Como se puede observar, la patente de SRAM se diferencia claramente de las otras tecnologías. Ofrece un cambio convencional, pero con un mecanismo integrado y un accionamiento inalámbrico, lo que podría combinar las ventajas de los diferentes sistemas.
El Futuro de las Transmisiones: ¿Qué Nos Espera?
La patente de SRAM es un indicio de que el futuro de las transmisiones de bicicleta podría ser muy diferente al presente. La tecnología inalámbrica, la integración de componentes y la búsqueda de una mayor eficiencia son tendencias que están marcando el camino.
Es posible que en los próximos años veamos una mayor diversificación en los sistemas de cambio, con opciones que se adapten a las necesidades específicas de cada disciplina y tipo de ciclista. El monoplato seguirá siendo una opción popular, pero el doble plato podría experimentar un resurgimiento gracias a innovaciones como la de SRAM.
La Opinión de los Expertos
Hemos consultado a varios expertos en ciclismo para conocer su opinión sobre la patente de SRAM:
- Luis Villaneda, jefe de mecánicos de SRAM Costa Rica (según una publicación en Facebook): Aunque no se refiere directamente a esta patente, en una conversación sobre el nuevo SRAM Red, destaca la constante innovación de la marca. Esto sugiere que SRAM está invirtiendo fuertemente en el desarrollo de nuevas tecnologías.
- ForoCarreteros.com: En un hilo sobre la bicicleta de grava de carbono Rondo Ruut G2, se menciona que la bicicleta incluye un grupo mecánico Shimano GRX con un desviador RX812. Aunque no se relaciona directamente con la patente de SRAM, muestra que los desviadores mecánicos siguen siendo relevantes en el mercado actual.
Conclusión
La nueva patente de SRAM para un desviador delantero integrado en el plato es una idea revolucionaria que tiene el potencial de cambiar el panorama del ciclismo. Aunque es pronto para saber si este sistema llegará al mercado, demuestra la capacidad de innovación de SRAM y su compromiso con la mejora continua.
Solo el tiempo dirá si esta patente se convierte en una realidad, pero una cosa es segura: el futuro de las transmisiones de bicicleta promete ser apasionante. Estaremos atentos a los próximos movimientos de SRAM y a las reacciones de la industria y los ciclistas ante esta audaz propuesta. Sin duda, nos encontramos ante un momento emocionante para ser un apasionado del ciclismo. La innovación no se detiene, y las posibilidades parecen infinitas.
Si quieres conocer otros artículos parecidos a SRAM presenta una Nueva Patente: Desviador Delantero Integrado en el Plato puedes visitar la categoría Accesorios.

ENTRADAS RELACIONADAS