Classified carga solar y cambios automáticos el futuro de los grupos
En el mundo dinámico de la ciclismo, la tecnología sigue evolucionando a pasos agigantados. Una de las innovaciones más prometedoras que están captando la atención de los entusiastas y profesionales por igual es la integración de la carga solar y los cambios automáticos en los grupos electrónicos de las bicicletas. Este artículo detallado explorará en profundidad cómo estas tecnologías podrían revolucionar el futuro del ciclismo, y cómo empresas como Classified están a la vanguardia de este movimiento.
Introducción a la Tecnología Classified carga solar en el Ciclismo

La energía solar ha sido ampliamente utilizada en diversos ámbitos, desde la generación de electricidad a gran escala hasta dispositivos portátiles. En el ciclismo, la integración de paneles solares en los equipos de la bicicleta podría ofrecer una solución eficiente y sostenible para mantener cargados los cada vez más complejos sistemas electrónicos que se incorporan en las bicicletas modernas.
Aprovechando la Energía Solar
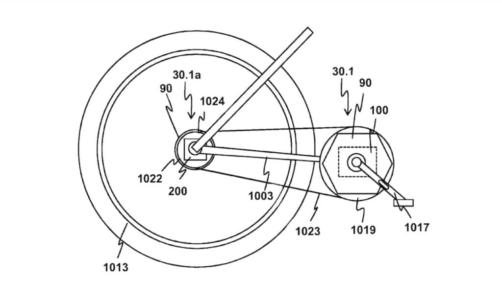
La capacidad de las bicicletas para aprovechar la energía solar depende de la integración de mini paneles fotovoltaicos en diversas partes de la bicicleta. Classified, una empresa belga conocida por sus innovaciones en el mundo del ciclismo, ha presentado un brevetto que menciona el uso de estas pequeñas celdas solares en componentes como la corona, el disco, y hasta los propios mandos del cambio. La idea es que estas células fotovoltaicas capturen la energía solar durante las horas de luz y la conviertan en electricidad para alimentar los sistemas electrónicos de la bicicleta.

El documento de patente, disponible en Espacenet, detalla diversas configuraciones posibles, desde paneles solares en la corona (identificados como número 90 en las ilustraciones) hasta en los soportes de ciclocomputadores de mayor tamaño. Estas soluciones, aunque todavía en fase conceptual, muestran un potencial significativo para reducir la dependencia de los ciclistas de cargar manualmente sus dispositivos.
Beneficios de la Carga Solar
Una de las mayores ventajas de la carga solar es la autonomía que proporciona a los ciclistas. Imagina poder salir a pedalear sin preocuparte por la carga de tu cambio electrónico o tus sensores de potencia y cadencia. La eliminación de esta necesidad no solo facilita la preparación para las salidas, sino que también podría significar un paso adelante en la sostenibilidad, al reducir el consumo de energía proveniente de fuentes no renovables.

Además, los ciclistas que utilizan sus bicicletas para largas distancias o en condiciones donde no tienen acceso fácil a la electricidad, como en expediciones o viajes por zonas remotas, encontrarán en la carga solar una solución ideal. La posibilidad de mantener cargados todos los componentes electrónicos de la bicicleta sin necesidad de paradas adicionales o de llevar cargadores portátiles es inestimable.
El Futuro de los Cambios Automáticos
La otra cara de la innovación en el ciclismo es la evolución de los cambios automáticos. Aunque la tecnología de cambios electrónicos ya ha transformado la experiencia de montar en bicicleta, la próxima generación de cambios automáticos promete una experiencia aún más fluida y eficiente.
El Sistema Classified
Classified es conocido por su sistema de cambio que integra la función del derailleur dentro del mozzo, lo que permite un rango de cambio más amplio con un solo plato, similar a lo que ofrece una configuración de doble plato pero con la simplicidad y eficiencia de un solo engranaje. Este sistema, que ya ha sido adoptado por algunos profesionales, especialmente en pruebas contrarreloj, demuestra el compromiso de la empresa con la innovación.
Te puede interesar:
Casco EKOI Racing PURE AERO Mirror
El concepto de cambio automático, tal como se describe en el reciente brevetto de Classified, va un paso más allá. Al integrar un sistema de recarga que utiliza tanto la energía solar como la cinética, la empresa propone un cambio que no solo sea electrónico y automático, sino también autoalimentado. Esto significa que el cambio podría funcionar indefinidamente sin necesidad de intervención del ciclista para su recarga.
Recuperación de Energía Cinética
Además de la carga solar, Classified también explora la recuperación de energía cinética para alimentar los sistemas electrónicos de la bicicleta. Este concepto es similar al KERS (Kinetic Energy Recovery System) utilizado en la Formula 1, donde la energía cinética generada durante el frenado se convierte en energía eléctrica y se almacena para su uso posterior.
El brevetto describe el uso de módulos convertidores que transforman la energía cinética generada por componentes en movimiento, como la guarnitura, el disco, la rueda o el mozzo, en energía eléctrica. Estos módulos utilizan magnetos y un elemento indutor para generar corriente eléctrica, que luego se almacena en una unidad de recolección, esencialmente una batería.
Potencial y Desafíos
Aunque la idea de un cambio autoalimentado y otros sensores electrónicos alimentados por energía solar y cinética es emocionante, existen varios desafíos que deben superarse. Para las bicicletas de alta gama, la miniaturización y la estética del sistema son cruciales. Los componentes deben ser lo suficientemente pequeños y ligeros como para no afectar significativamente el rendimiento de la bicicleta.
Por otro lado, para las bicicletas urbanas o de turismo, donde la estética y el peso pueden tener menos importancia, la integración de tales sistemas parece más factible. Además, la cantidad de energía que estos sistemas pueden generar aún es objeto de estudio y podría no ser suficiente para alimentar todos los componentes electrónicos de las bicicletas más avanzadas.
Impacto en la Industria del Ciclismo
La adopción de tecnologías como la carga solar y los cambios automáticos podría tener un impacto significativo en la industria del ciclismo. Los principales fabricantes de componentes, como Shimano, Sram y Campagnolo, estarán observando de cerca estos desarrollos y podrían seguir la misma dirección.
Eficiencia y Sostenibilidad
La integración de sistemas de recarga solar y cinética contribuiría a la eficiencia energética de las bicicletas y a su sostenibilidad. Los ciclistas que buscan reducir su huella de carbono encontrarán en estas tecnologías una forma de hacerlo sin comprometer el rendimiento o la funcionalidad de sus bicicletas.
Aumento de la Autonomía de las Bicicletas Eléctricas
Otra área donde estos avances podrían tener un impacto significativo es en las bicicletas eléctricas. La capacidad de generar energía adicional a través de la carga solar y la recuperación de energía cinética podría aumentar la autonomía de las baterías de las bicicletas eléctricas, permitiendo a los ciclistas recorrer mayores distancias sin necesidad de recargar.
Competitividad en el Mercado
La competencia en el mercado de componentes de bicicletas es feroz, y las empresas que puedan ofrecer soluciones innovadoras y sostenibles tendrán una ventaja competitiva. Classified, con su enfoque innovador, podría establecer un nuevo estándar en la industria, presionando a otros fabricantes para que sigan el ejemplo.
Casos de Uso y Ejemplos de Aplicación
Para ilustrar cómo estas tecnologías podrían integrarse en el mundo real, consideremos algunos casos de uso y ejemplos potenciales.
Ciclistas de Larga Distancia
Los ciclistas que realizan viajes de larga distancia, como los que participan en eventos como el Giro del Mito o expediciones a través de continentes, podrían beneficiarse enormemente de sistemas de carga solar y cambios automáticos autoalimentados. La capacidad de mantener sus equipos electrónicos cargados sin necesidad de buscar fuentes de energía externas sería una ventaja significativa.
Bicicletas Urbanas
Para los ciclistas urbanos, la integración de paneles solares en sus bicicletas podría hacer que sus desplazamientos diarios sean aún más convenientes. La posibilidad de mantener el cambio electrónico y otros sensores siempre cargados reduciría la necesidad de llevar cargadores o de detenerse para recargar en medio de una jornada laboral.
Deportistas Profesionales
Los ciclistas profesionales, que dependen de la precisión y el rendimiento de sus equipos, también podrían beneficiarse de estas tecnologías. Un cambio autoalimentado y sensores siempre operativos podrían proporcionar una ventaja competitiva, especialmente en eventos donde la fiabilidad del equipo es crucial.
Conclusiones y Perspectivas Futuras
La integración de la carga solar y los cambios automáticos autoalimentados representa una evolución emocionante en el mundo del ciclismo. Aunque todavía hay desafíos que superar, particularmente en términos de miniaturización y eficiencia energética, el potencial de estas tecnologías es innegable.
Classified, con su enfoque innovador y su compromiso con la evolución continua, está a la vanguardia de este movimiento. Sin embargo, el éxito de estas tecnologías dependerá de la capacidad de la industria para abordar los desafíos técnicos y de la aceptación por parte de los ciclistas.
En última instancia, la carga solar y los cambios automáticos podrían ser el futuro de los grupos electrónicos, ofreciendo a los ciclistas una experiencia más sostenible, eficiente y conveniente. Queda por ver cómo se desarrollarán estas tecnologías y cómo transformarán el mundo del ciclismo en los próximos años.
Si quieres conocer otros artículos parecidos a Classified carga solar y cambios automáticos el futuro de los grupos puedes visitar la categoría Accesorios.

ENTRADAS RELACIONADAS